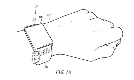
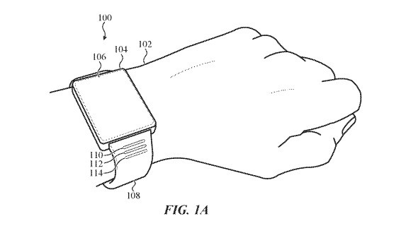
I cinturini dei futuri Apple Watch potrebbero avere funzionalità intelligenti, se uno dei più recenti brevetti di Apple si concretizzerà: gli inventori della società di Cupertino immaginano una serie di indicatori luminosi inseriti nei cinturini con lo scopo di inviare informazioni utili a chi lo indossa - per esempio l'inizio di un allenamento, la ricezione di una notifica, o il raggiungimento di un obiettivo fitness.
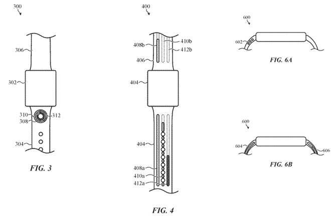
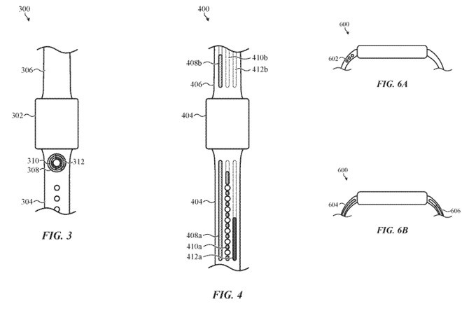
Il brevetto rimane piuttosto vago su quantità, forma e posizione di quelli che potremmo chiamare LED di notifica. Ipotizza però che potrebbe essercene più di un gruppo, con il compito di fornire informazioni differenti: l'esempio più banale è quello di un gruppo di uno o più LED per ogni metà del cinturino. Da notare che uno degli esempi schematici immagina addirittura una luce (o una serie) sul lato del cinturino - che è spesso, ricordiamo, poco più di un millimetro.
Il brevetto parla anche di varie modalità di illuminazione: una traduzione dal "brevettese" potrebbe essere LED RGB dimmerabile. Un'altra immagine suggerisce una striscia luminosa lunga quasi quanto la metà del cinturino in cui risiede: potrebbe essere una progress bar.
Insomma, una volta che si decide di rendere luminoso un cinturino, le possibili implementazioni sono pressoché infinite. Resta naturalmente il grosso "se" che abbiamo espresso all'inizio dell'articolo: Apple registra decine di brevetti a settimana, e solo una piccola parte viene implementata in un prodotto. Tra l'altro, le nuove informazioni pubblicate oggi sono l'espansione di un brevetto risalente al 2017.
[ad_2]
Sorgente articolo: HDblog.it https://goo.gl/s4RHL7

0 commenti:
Posta un commento